Samenvatting – “Amusement ride and method for operating an amusement ride”
Deze uitvinding beschrijft een nieuwe attractie (pretparkrit) en een methode om die te bedienen, bedoeld om de doorstroming, veiligheid en het comfort van passagiers te verbeteren.
🔧 Probleem bij bestaande attracties
Bestaande attracties zoals achtbanen of waterbanen hebben vaak problemen met:
Lange wachttijden en lage capaciteit (door beperkte instap-/uitstaptijd).
Verschillen in passagiers (mobiliteit, bagage, veiligheid, inclusie).
Stressvolle of onveilige instapmomenten.
Beperkingen in onderhoud of logistiek waardoor voertuigen niet flexibel inzetbaar zijn.
Dit alles leidt tot een lage efficiëntie en minder beleving voor bezoekers.
💡 Kern van de uitvinding
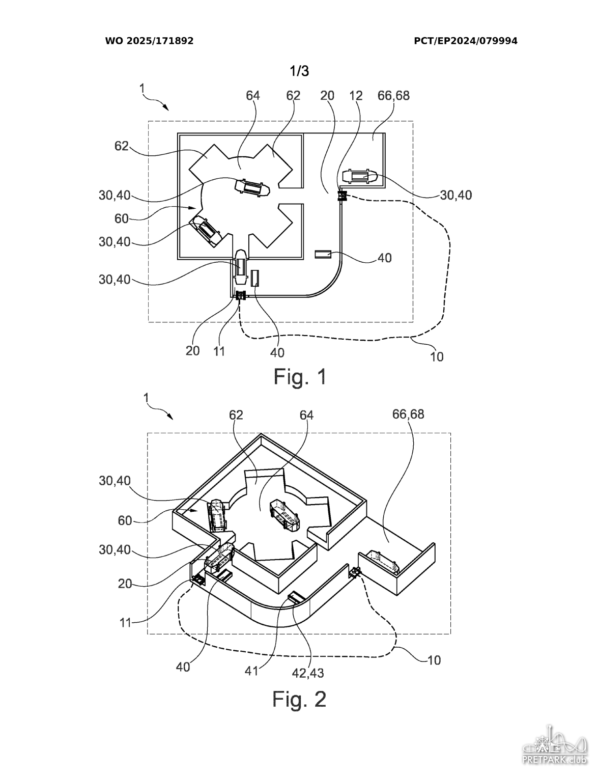
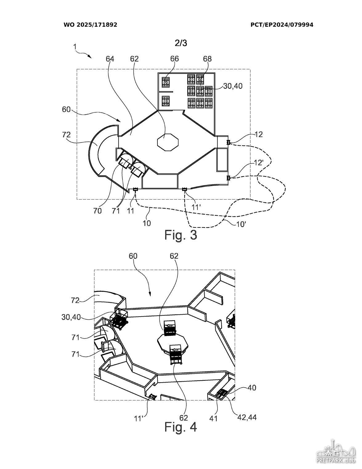
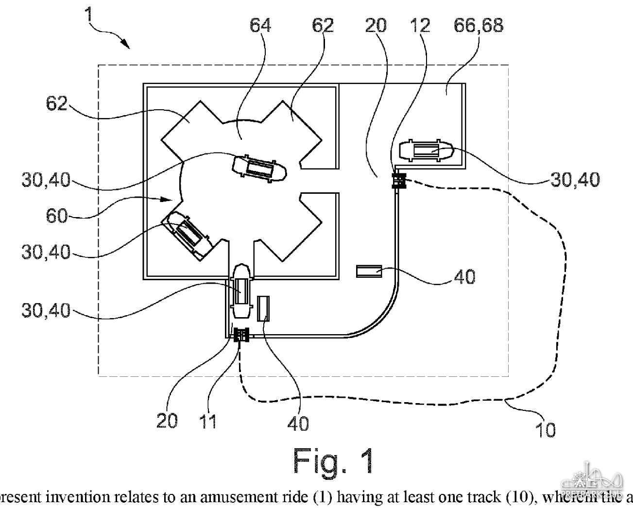
De nieuwe attractie gebruikt een modulair systeem met losse voertuigen en zelfrijdende transportvoertuigen (AGV’s).
Elk “ritvoertuig” (bijv. een achtbaanwagentje) kan van de baan worden gehaald en vervoerd worden naar een station, onderhoudsruimte of belevingszone.
De baan zelf is niet gesloten (heeft open eindpunten).
In de “docking area” koppelt het ritvoertuig aan of van de baan via een transportvoertuig.
Zo kunnen voertuigen buiten de baan worden geladen, gerepareerd of thematisch voorbereid, zonder de doorstroming van andere voertuigen te vertragen.
Het systeem werkt dus als een “roll-on/roll-off”-principe: voertuigen rijden op of af de transportwagen die ze naar de juiste plek brengt.
🚗 Werking in het kort
Een ritvoertuig wordt door een zelfrijdende transportwagen (AGV) naar het startpunt van de baan gebracht.
Daar “dokkt” het aan en begint de rit.
Aan het einde van de rit wordt het voertuig weer op een transportwagen gezet.
Deze brengt het voertuig:
naar een instap-/uitstapstation,
naar onderhoud,
naar opslag, of
naar een animatiezone (bijv. een darkride-gedeelte met lichteffecten en geluid).
Door dit systeem kunnen meerdere voertuigen tegelijk in omloop zijn, elk met optimale timing en doorstroming, onafhankelijk van de instap- of onderhoudstijd van andere voertuigen.
🧩 Mogelijke configuraties
Meerdere spoortrajecten (bijv. twee of drie verschillende banen) kunnen worden gecombineerd.
Transportvoertuigen kunnen vrij bewegen door een “transfer area” die alle zones verbindt.
Het systeem ondersteunt zowel verschillende voertuigen (achtbaan, waterbaan, darkride) als verschillende rij-ervaringen vanuit één station.
Er kunnen speciale effecten en multimedia worden geïntegreerd tijdens het transport (bijv. darkride-effecten tijdens verplaatsing).
✅ Voordelen
Kortere wachttijden en hogere capaciteit.
Veiliger en stressvrij instappen, ook voor mensen met beperkte mobiliteit.
Flexibele inzet van voertuigen (onderhoud, themawissel, etc.).
Groepen blijven samen in één voertuig.
Combinatie van rittypes (bijv. darkride + achtbaan in één ervaring).
Automatisering vermindert personeelsbehoefte.